您好, 欢迎来到百铸网! 热线电话:400-8088-177 企业邮箱:[email protected] 注册|登录
2016-09-21来源:暂无数据
表1 铸造碳钢的牌号、化学成分及机械性能
钢号 |
化学成分 | 机械性能 | ||||||
| Wc×100 | WMn×100 | WSi×100 | σb/MPa | σs/MPa | σb/MPa | ΨX100 | aK(CVN)/( 105J/m2) | |
| ZG15 | 0.12-0.22 | 0.35-0.65 | 0.20-0.45 | 400 | 200 | 25 | 40 | 6.0 |
| ZG25 | 0.22-0.32 | 0.50-0.80 | 0.20-0.45 | 450 | 240 | 20 | 32 | 4.5 |
| ZG35 | 0.32-0.42 | 0.50-0.80 | 0.20-0.45 | 500 | 280 | 16 | 25 | 3.5 |
| ZG45 | 0.42-0.52 | 0.50-0.80 | 0.20-0.45 | 580 | 320 | 12 | 20 | 3.0 |
| ZG55 | 0.52-0.62 | 0.50-0.80 | 0.20-0.45 | 650 | 350 | 10 | 18 | 2.0 |
一般工程用铸造碳钢的标准(GB5676)将铸造碳钢按照室温下的机械性能分为5个牌号,即ZG200-400、ZG230-450、ZG270-500、ZG310-570和ZG340-640。对钢中的基本化学成分只规定其质量分数的上限,对钢中残余合金元素的限制比较宽。
2铸造低合金钢
2.1 通用铸造低合金钢系列钢种
在机械制造中,通用的铸造低合金钢主要包括锰系、铬系和镍系三个系列。这些系列钢种是在铸造碳钢的成分基础上进行合金化,并通过相就的热处理,以获得比铸造钢更高的常温机械性能的。
1)锰系低合金钢
以锰作为主要合金化元素,而以硅、钼等作为辅助强化元素,构成锰钢、锰硅钢、锰硅铬钢和锰钼钢。
2)铬系低合金钢
以铬作为主要合金化元素,而以钼、镍等作辅助强化元素,构成铬钢,铬镍钢。
3)镍系低合金钢
以镍作为主要合金化元素,而以铬或与作辅化元素构成镍钢、镍铬钢、镍铬钼系钢种。
2.2 具有特殊性能和用途的低合金钢种
根据对铸件提出的特殊使用性能要求,进行钢的合金设计,即是有专门用途的铸造低合金钢种,其中包括用于厚大截面而又不允许淬火处理的析出强化型低合金钢,耐热用低合金钢,低温用低合金钢以及抗磨用低合金钢等。
3 铸造高合金钢
在铸造高合金钢中,加入有合金元素总量在10%(质量分数)以上,加入的合金元素可以是一种,两种,或更多种。钢中含有大量合金元素后,组织发生了根本的变化。使得钢具有特殊的使用性能,例如ωMn=13%的奥氏体高锰钢,具有很高的抗冲击磨损的性能,又如ωcr=18%、ωNi=的奥氏体不锈钢,具有很好的耐腐性能等,因此,高合金铸钢实际上是特种铸钢。
与特种铸铁相比,高合金铸钢具有更高的性能,特别是机械性能,如高铬抗磨白口铸铁,虽有很高的抗磨性,但其韧性则较差,不适于在高冲击力的作用下工作,而高锰钢则既有很高的抗磨性,又有很高的冲击韧性,能经受高冲击磨损。又如高硅铸铁在酸类公质中有强而蚀性,但其强度很低,极易脆裂。而奥氏体不锈钢则既具有而蚀性,又有较高的强度和很高的冲击韧性,适用于经受冲击或震动条件下的耐蚀铸件,如而酸泵的旰轮等。再如高铬铸铁虽有很高的耐热性,但也是低强度、高脆性的材料,而高铬镍钢和铬锰氮钢则具有很高的强度和韧性。因此,高合金铸钢比特种铸铁更适合于在重载荷、冲击和震动条件下工作的机器零件,比特种铸铁具有更大的可靠性和安全性。
由于高合金钢中含有大量合金元素,故在铸造性能、焊接性能以及切削加工性能方面均比碳钢和低合金钢差。在铸造性能方面,每种高合金钢均有其特点,生产上需要根据其铸造性能特点来制定相应的铸造工艺。在焊接方面,一般需要使用特定的合金焊条。有些钢种焊接时还需要采取惰性气体保护,必在时还需要在焊前进行铸件预热和在焊后进行的改善焊接部位组织以及消除焊接应力的热处理等。在切削加工方面,由于高合金钢种硬度很高,有的钢种韧性很强,以至于用加工一般碳钢及低合金所用的刀具和切削工具,不能进行加工,而必须采用特定的刀具切削工艺。
3.1 铸造抗磨钢(高锰钢)
在铸造抗磨钢中,高锰钢是最通用的一种。高锰钢中锰的公称含量为13%(质量分数),牌号为ZGMn13,钢经过热处理后具有单一奥氏体组织,韧性很好,但硬度并不高,但这种奥氏体有加工硬性,铸件在工作中经受强烈的冲击或挤压时,其表面层组织发生加工硬化,硬度大为提高,因而具有很高的抗磨性。
3.2 铸造耐蚀钢(不锈钢)
铸造耐蚀钢的钢种很多,但基本上都以铬作为耐蚀的主要合金元素。依照化学成分和组织可分为铬不锈钢和铬镍不锈钢两类。
1)铬不锈钢
铬不锈钢的公称含量为13%,是不锈钢钢种当中含铬量最低的一种。Cr13型钢是一个系列,按照钢含量不同而分为五种钢号,即0Cr13,1Cr13,2Cr13,3Cr13和4Cr13。作为铸造不锈钢使用的是耐蚀性较好的ZG 0Cr13和ZG1Cr13两种。
2)铬镍不锈钢
铬镍不锈钢中铬的公称含量ωcr=18%,其耐蚀性能优于Cr13钢。
3.3 抗磨耐蚀合金钢(不锈钢)
由于水力发电和其它工业的需要,近年来国内外发展了抗磨耐蚀合金钢,其中典型的是用于制造水轮机转子和单浆叶片所用的铬镍钼马氏体不锈钢和析出硬化型铸造不锈钢。
抗磨耐蚀不锈钢也是以铬为主要耐蚀合金元素的,为了使钢具有高硬度,应使钢具有马氏体组织。为此在钢中添加镍和钼,以便在铬镍的联合作用下,使钢具仍很高的淬透性,从而使大型厚壁铸件能在油淬或空泠条件下,得到沿全断面厚度的马氏体组织。在析出硬化型不锈钢中,由于有弥散硬化相在马氏体基体上析出,因而更进一步提高了钢的硬度和抗磨性。为了保证有良好的耐蚀性和焊接性,这类钢中碳的质量分数比较低,一般在0.1%以下。
3.4 铸造耐热钢
耐热用低于合金钢在400℃以下的温度具有抗氧化性,并能保持其强度,但在更高的温度下具有耐热性,就需要用高合金钢。
钢的高温性能包括抗氧化性及热强性两个方面,抗氧化性是钢在高温下具有对气体介质的氧化腐蚀的稳定性,热强性则是钢在高温下能长期保持承受机械负荷的能力。高温下使用的钢种即按照这两种性能而分为两类。
1)耐热不起皮钢(抗氧化钢),这是在高温下具有良好的抗氧化性的钢,但对钢的高温强度无严格要求。
2)热强钢,这是在高温下既具有良好的抗氧化性,又能长期保持高强度的钢。
生产上所用的耐热温度在800℃以上的钢有铬耐热钢、铬镍耐热钢、铬锰氮耐热钢和铝锰耐热钢等四大类。
3.5 铸造热强钢
1)钢在高温下的强度及热强性
钢在高温下受力时,发生两种现象,即软化和蠕变。软化的表现是强度降低,而塑性升高。蠕变的表现是钢在高温下受力时,在应力不变的条件下,其变形量不断增长,直至最后断裂。
2) 低体热强钢
热强钢通常按其金相组织而分为珠光体型、马氏体型和奥氏体型。前两种含的强化元素较少,热强性较差,一般用于600℃以下的温度。奥氏体能固溶大量合金元素,有利于提高钢的热强性。因此,在600。C以上的温度使用的热强钢,基本上都是奥氏体型
在更高温度(800℃以上)使用的热强性材料已不是钢(铁基合金),而是镍基合金或钴基合金了。
4铸钢的熔炼
4.1 炼钢的目的和要求
炼钢的目的和要求包括以下四个方面:
1) 将炉料熔化成钢液,并提高其过热温度,保证浇注的需要。
2) 将钢液中的硅,锰和碳(治炼合金钢时,还包括有合金元素)的含量,控制在规则范围以内。
3) 降低钢液中的有害元素硫和磷,使共含量降低到规定限度以下。
4) 清除钢液中的非金属夹杂物和气体,使钢液纯净。
4.2 炼钢的方法,特点和应用
1)电弧炉炼钢
电弧炉的基本构造如图1所示。利用电弧产生的热量来熔化炉料和提高钢液过热温度。由于电弧炉不用燃料燃烧的方法加热,故容易控制炉气的性质。可按照冶炼的要求,使之成为氧化性或还原性。电弧炉成为在铸钢方面应用最普遍的炼钢炉。
2)感应电炉炼钢
炼钢采用无芯感应电炉,其工作原理和构造铸铁的电炉相同。炉体结构与外观如图2所示,主要包括感应器和坩埚两部分。但由于炼钢需要消耗更多的热量,故在输入功率方面比同样容量的熔炼铸铁用炉大。炼钢用的感应电炉依炉子容量(坩埚直径)的不同而采用不同的频率,容量在10kg左右的用高频(10000Hz以上),容量从100~500kg的用中频(1000~3000Hz),而容量在500kg以上的感应电炉采用工业用电频率(50Hz)。
3)平炉炼钢
平炉的构造如图2所示。用煤气或重油作燃料,与预热送风相混合,进行燃烧,产生的火焰直接喷射在炉料上,进行加热和熔化,由于是靠火焰加热,故炉气呈氧化性,炼钢过程中元素烧损较电炉重,平炉的容量大,一般自几十吨至数百吨,适用于浇注重型铸件。
4)钢包精炼炉
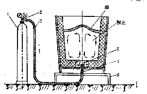
用电弧炉熔化炉料,然后将钢液倾入钢包精炼炉中(图3),用氩气进行吹炼,能有效地清除钢液中的气体和夹杂物,提高钢液的质量。在钢包精炼炉基础上发展起来的氩氧脱碳(AOD)法和真空氩氧脱碳(VOD)法是冶炼高纯净度钢液,特别是低碳的高纯净度钢液的先进方法,特别适用于生产高强度钢、超高强度钢等钢种。
图1 炼钢电弧炉结构示意图
1-倾炉液压缸 2-倾炉摇架 3-炉门 4-熔池 5-炉盖 6-电极 7-电极夹紧器 8-炉体 9-电弧 10-出钢槽
图2 感应电炉炉体结构和外观
1-水泥石棉盖板 2-坩埚 3-感应线圈 4-水泥石棉防护板 5-耐火砖底座 6-铝制边框
图3 钢包精炼炉示意图
1-氩气瓶 2-减压阀 3-耐压橡皮管 4-活接头 5-透气塞 6-盛钢筒支架
铸铁是含碳量大于2.11或者组织中具有共晶组织的铁碳合金。工业上所用的铸铁,实际上都不是简单的铁一碳二元合金,而是以铁、碳、硅为主要元素的多元合金。铸铁的成分范围大致为:C2.4-4.0%,Si0.6-3.0%,Mn0.2-1.2%,P 0.1-1.2%,S 0.08-0.15%。有时还加入各种合金元素,以便获得具有各种性能的合金铸铁。
根据碳在铸铁中存在的形态不同,通常可将铸铁分为白口铸铁、灰口铸铁及麻口铸铁。而灰铸铁中又可根据石墨的形态不同而分为普通灰铸铁,蠕虫状石黑铸铁,球黑铸铁以及可锻铸铁。
5 灰铸铁
灰铸铁通常是指具有片状石墨的灰口铸铁,这中铸铁具有一定的机械性能、良好的铸造性能以及其它多方面的优良性能,因而在机械制造中业获得最广泛的应用。
表2为灰铸铁的新的国家标准。该标准是以灰铸铁的抗拉强度作为分级依据的。由于灰铸铁对冷却速率的敏感性(壁厚效应),同一种牌号铸铁在不同铸件壁厚条件下的实际强度有很大的差别(薄壁与厚壁之间在强度上的差别达50-80MPa)。
表2 灰铸铁分级
| 牌号 | 抗拉强度 MPa (kg/mm2) |
| HT 100 | ≥100 (10.2) |
| HT 150 | ≥150 (15.3) |
| HT 200 | ≥200 (20.4) |
| HT 250 | ≥250 (25.5) |
| HT 300 | ≥300 (30.6) |
| HT 350 | ≥350 (35.7) |
6 球墨铸铁及蠕墨铸铁
球墨铸铁和蠕墨铸铁一般是用稀土镁合金对铁液进行处理,以改善石墨形态,从而得到比灰铸铁有更高机械性能的铸铁。
球墨铸铁依照其基体和性能特点而分为六种:即铁素体(高韧性)球墨铸铁,珠光体(高强度)球墨铸铁,贝氏体(耐磨)球墨铸铁,奥氏体一贝氏体(耐磨)球墨铸铁,马氏体一奥氏体(抗磨)球墨铸铁及奥氏体(耐热、耐蚀)球墨铸铁。
蠕墨铸铁具有不同比例的珠光体—铁素体基体组织。铸铁性能与其石墨的蠕化程度(蠕化率)及基体有关。在石墨蠕化良好条件下,珠光体蠕墨铸铁的强度和硬度较高,耐磨性强。适于制造耐磨零件,如汽车的刹车鼓等。而铁素体蠕墨铸铁的导热性较好,在高温作用下,不存在珠光体分解问题,组织较稳定,适用于制造在高温下工作、需要有良好的抗热疲劳能力、导热性的零件,如内燃机汽缸盖、进排气岐管等。
7 可锻铸铁
可锻铸铁是将白口铸铁通过固态石墨化热处理(包括有或无脱碳过程)得到的具有团絮状石墨的铁碳合金。采用不同的热处理方法,可以得到具有不同组织和性能的可锻铸铁,即黑心可锻铸铁、珠光体可锻铸铁和白心可锻铸铁。
当将白口铸铁毛坯件在密封的退火炉中进行热处理,即在中性炉气条件下退火时,得到的铸铁组织中有呈团絮状的石墨(退火碳)存在。这种石墨虽不很圆整和紧密,但它对基体的割裂作用则比灰铸铁中的片状石墨要小得多,因此它能使铸铁得到较高的强度及良好的韧性。铸铁的基体可以通过热处理来加以控制。使之成为铁素体或珠光体。用这种方法得到的铁素体基体可锻铸铁因组织中有石墨存在,因而铸铁的断面呈暗灰色,而在表层经常有薄的脱碳层呈浅灰色,故通称为黑心可锻铸铁。而珠光体可锻铸铁则是以其基体命名的。
当将白口铸铁毛坯件在氧化性质的炉气条件下进行退火时,铸件断面上从外层到心部,发生强烈的氧化和脱碳。在完全脱碳层中无石墨存在,铸铁的组织为铸素体。实际上,在小断面尺寸条件下,铸铁的组织基本上为单一的铁素体和退火碳。而在大断面尺寸条件下,表层为铁素体,中间区域为珠光体和铁素体及退火碳,而心部区域则为珠光体及退火碳(间或有少量铁素体)。这种铸铁断面由于其心部区域有发亮的光泽,而表层色泽较暗,故通称为白心可锻铸铁。
8 特种铸铁
特种铸铁是指具有特殊使用性能的铸铁材料,主要包括抗磨铸铁、耐热铸铁和耐腐蚀铸铁。为了使铸铁具有这些特殊使用性能,需要使铸铁有一定的组织。特种铸铁中既有非合金铸铁(例如普通白口抗磨铸铁),也有低合金铸铁、中合金铸铁和高合金铸铁(如中锰抗磨用球墨铸铁及高铬抗磨用白口铸铁等)。
对任何一种特种铸铁而言,首先是要求具备一定的使用性能,如抗磨、耐热等。但由于是用来制造机器零件,就需要保证有一定的机械性能,主要是强度和塑性,为此需要在铸铁的化学成分设计上,考虑同时满足特定的使用性能和一定的机械性能这两方面的要求。
由于特种铸铁中含有大量合金元素,使得其在熔炼和铸造性能方面,与非合金化的铸铁有显著的差别。大多数合金元素降低铸铁的铸造性能,而含有大量合金元素的特种铸铁的铸造性能通常是很差的,在铸造过程中容易产生多种铸造缺陷,因此需要针对各种铸铁在熔炼和铸造方面的特性,采取适当的工艺措施,防止缺陷的发生,以保证铸件的质量。
9 铸铁的熔炼
9.1 熔炼对保证铸件质量的重要性
熔炼铁液是生产铸铁件的重要环节。铸件质量包括内在质量、外观质量以及是否形成缺陷等,这些都与铁液方面因素有直接的关系。如铁液的流动性、薄壁和结构复杂铸件的成型性以及冷隔缺陷等受铁液温度的影响,而熔炼的铁液化学成分是否符合要求,则对铸件的机械性能有直接的影响。铁液中的气体和非金属夹杂物含量不仅影响铸铁的强度和铸件的致密度,而且还与铸件形成气孔、裂纹等缺陷有关。随着机械制造科学的发展,对铸铁提出薄壁、高强度的要求,铸件的最小壁厚由过去4~6mm减小至2~3mm,这要求相应提高铁液浇注温度。铁液温度还对铸铁件的内在质量有重要的影响,如灰铸铁件的质量指标(GZ),即与铁液温度有显明的关系。在球墨铸铁生产方面,熔炼出铁液的温度及原始含硫量成为球化及孕育处理有否成功的先决条件。
9.2 对铁液质量的基本要求
1.出炉温度
不同牌号灰铸铁件的浇注温度范围大致为1330-14100C。在一般情况下,铁液的出炉温度至少比浇注温度提高500C,故根据铸铁牌号(自HT100至HT350)和铸件结构条件的具体情况,铁液出炉温度应不低于1380-14600C。当需要浇注特薄(2-4mm)铸件时,出炉温度还应提高20-300C。为了满足浇注铸件的需要,不同牌号可锻铸铁的出炉温度应不低于1460-14800C。对球墨铸铁及其它变质处理的铸铁,在其球化一孕育处理过程中铁液的温度会有显著的下降,为了补偿铁液的温度损失,需相应提高铁液的出炉温度。
2.化学成分
熔炼得到的铁液化学成分需要满足铸件的规格要求。
用冲天炉熔炼时,配料计算是保证铁水化学成分合乎要求的首要环节。即根据铁水化学成分的要求,考虑冲天炉在熔炼过程中元素的变化和炉料的实际情况,计算出各种金属炉料的配合比例。
各种牌号铸铁要求的化学成分随铸件壁厚和铸造方法而异。例如,HT20-40铸铁的化学成分范围为:C3.3-3.5%、Si1.5-2.0%、Mn0.5-0.8%、S<0.12%、P<0.25%。用于配置HT20-40的金属料平均成分如表3。
表3 配置HT20-40的金属料平均成分
|
炉料名称 |
化学成分 % |
||||
|
C |
Si |
Mn |
P |
S |
|
|
Z15生铁 |
4.19 |
1.56 |
0.76 |
0.04 |
0.036 |
|
回炉料 |
3.28 |
1.88 |
0.66 |
0.07 |
0.098 |
|
废钢 |
0.15 |
0.35 |
0.50 |
0.05 |
0.05 |
所用铁合金为含硅45%硅铁,含锰75%的锰铁。
熔炼过程中元素的变化为:Si –15%、Mn –20%、S +50%。
其配料计算如下:
(1)计算炉料中各元素的变化
a) 炉料含碳量: C铁水% = 1.8% + 0.5 C炉料%
已知铁水所需的平均含碳量为3.4%,按上式算得 C炉料%=3.2%;
b) 炉料含硅量: 已知铁水所需的平均含硅量1.75%,硅的熔炼烧损为15%,则
Si炉料=1.75/(1-0.15)=2.06%;
c) 炉料含锰量 已知Mn铁水=0.65%,熔炼烧损20%,故Mn炉料=0.65/(1-0.20)=0.81%;
d) 炉料含硫量 已知S铁水=0.12%,增硫50%,则:S炉料=0.12/(1+0.5)=0.08%;
e) 炉料含磷量 磷在熔炼过程中变化不大,P炉料=P铁水<0.25%
综合上列计算结果,所需配置的炉料平均化学成分为:
C炉料3.2%、Si炉料2.06%、Mn炉料0.81%、S炉料<0.08%、P炉料<0.25%
(2)初步确定炉料配比
a) 回炉料的配比:主要取决于废品率和成品率,它随具体生产情况而变化。此处取20%。
b) 新生铁和废钢配比:设新生铁为χ%,则废钢为80%-χ%。按炉料所需含碳量为3.2%,新生铁、废钢、
回炉料的含碳量各为4.19%、0.15%、3.28%,可列出下式:
4.19χ+0.15(80-χ)+3.28′20=3.2′100
得出χ=60.0%。故铁料配比为:Z15生铁60%、废钢20%、回炉料20%。
(3)然后按上述配比及各种炉料的成分,计算配合后的炉料成分如表4。
表4 炉料成分
|
炉料名称 |
配比% |
C% |
Si% |
Mn% |
S% |
P% |
|||||
|
成分 |
数量 |
成分 |
数量 |
成分 |
数量 |
成分 |
数量 |
成分 |
数量 |
||
|
Z15生铁 |
60 |
4.19 |
2.51 |
1.56 |
0.94 |
0.76 |
0.46 |
0.036 |
0.022 |
0.04 |
0.024 |
|
回炉料 |
20 |
3.28 |
0.66 |
1.88 |
0.38 |
0.66 |
0.13 |
0.098 |
0.020 |
0.07 |
0.014 |
|
废钢 |
20 |
0.15 |
0.03 |
0.35 |
0.07 |
0.50 |
0.10 |
0.050 |
0.010 |
0.05 |
0.010 |
|
合计 |
100 |
3.20 |
1.39 |
0.69 |
0.052 |
0.048 |
|||||
|
要求成分 |
3.20 |
2.06 |
0.81 |
<0.08 |
<0.25 |
||||||
|
差额 |
0.00 |
0.67 |
0.12 |
合格 |
合格 |
||||||
(4)计算铁合金加入量
a) 硅铁加入量 今缺硅量0.67%,亦即每100公斤炉料需加硅0.67公斤。所用硅铁含硅量为45%,故每100公斤炉料需加硅铁量为0.67/0.45=1.5公斤
b) 锰铁加入量 同上法计算,每100公斤炉料需加入含锰75%的锰铁为:0.12/0.75=0.16公斤。
(5)制定配料单
根据配比和层铁量,确定每批炉料中各种炉料的重量,写出配料单。设已知层铁500公斤,可算得每批铁料的组成为:生铁 :500′60%=300公斤、废钢:500′20%=100公斤、回炉料:500′20%=100公斤、45%硅铁:500′1.5%=7.5公斤、75%锰铁:500′0.16%=0.8公斤。
3.有害成分
铸铁熔炼过程中,必须将有害的元素成分(磷、硫以及其它干扰铸铁正常结晶和组织控制的微量元素等),控制在限量以下。
1)脱硫 冲天炉熔炼中铁液中硫的来源,一是炉料中固有的硫,二是从焦碳中吸收的硫。酸性冲天炉不具有脱硫能力,碱性冲天炉能在一定程度上起到脱硫的作用。
炉渣碱度在一定范围内提高时,有利于降低铁液含硫量;温度提高时,铁液在熔炼过程中增硫量减少;炉气氧化性强时,渣中FeO含量增高,不利于脱硫反应的进行。适当提高焦铁比,减小送风强度,有利于脱硫。但当生产球墨铸铁件时,除了用热风冲天炉进行炉内脱硫外,还常采用炉外脱硫的措施。炉外脱硫的基本要点是尽量扩大脱硫剂与铁液之间的接触面积,以加强脱硫效果。常用方法有:利用电石脱硫的摇动包脱硫法、喷射脱硫法、机械脱硫法、机械搅拌脱硫法和多空塞脱硫法等。
2)脱磷 磷对铸铁的机械性能,特别是对球墨铸铁和可锻铸铁的韧性有害,因此要严格控制铸铁的含磷量。冲天炉熔炼的脱磷能力很弱。因此对铁液的含磷量只能通过配料来控制。应采用一定比例的低磷生铁和废钢进行配料。
4.铁液纯净,含有的渣、气体、夹杂物量少。
为了将冲天炉熔炼中形成的夹杂物从铁液中去除,常在熔炼过程中按照炉料重量,加入一定量的石灰石CaCO3 作为溶剂。石灰石在高温下分解,与泥沙、灰分等化合形成低熔点的复杂化合物——熔渣。熔渣易于与铁液分离便于去除。当熔渣粘度高时,可加入一些萤石(CaF2),以降低炉渣熔点。
9.3 铸铁的熔炼方法及其特点
熔炼铸铁的方法依照所用的熔炉设备而分为冲天炉熔炼,感应电炉熔炼,电孤炉熔炼,反射炉熔炼,以及由某些方法的联合,如冲天炉一电孤炉、冲天炉一感应电炉双联法等。
1.冲天炉熔炼法
(1)冲天炉构造 冲天炉的基本构造示如图4。炉身、风箱及烟道等用钢板焊成。炉身内部通常砌以耐火砖层,以便抵御焦碳燃烧产生的高温作用。为了储存铁液,多数冲天炉都配有前炉。
(2)冲天炉熔炼原理 在熔炼过程中,炉身的下部装满焦碳,称为底焦。在底焦的上面交替装有一批批的铁料(生铁、废钢、回炉料、铁合金等)、焦碳及熔剂(石灰石、萤石等)。通过鼓风,使底焦强烈燃烧,产生的高温炉气沿炉身高度方向上升,使其上面一层铁料熔化。
(3)冲天炉熔炼的优缺点及其应用 冲天炉是最普遍应用的铸铁熔炼设备。它用焦炭作燃料,焦炭燃烧产生的热量直接用来熔化炉料和提高铁液温度,在能量消耗方面比电孤炉和其它熔炉节省。而且设备比较简单,大小工厂皆可采用。但冲天炉也存在一定的缺点,主要是由于铁液直接与焦炭接触,故在熔炼过程中会发生铁液增碳和增硫的过程。
采用了冲天炉一电孤炉双联熔炼法或冲天炉一感应电炉双联熔炼法,以充分利用冲天炉熔化效率较高、电孤炉和感应电炉对铁液过热能力强及化学成分控制容易的优点。

图4 冲天炉结构简图
2.感应电炉熔炼
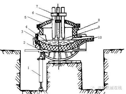
(1)感应电炉构造及工作原理 感应电炉是利用电流感应产生热量来加热和熔化铁料的熔炉。炉子的构造分为有芯式(图5)和无芯式两种,在无芯式感应电炉中,坩埚内的铁料在交变磁场的作用下产生感应电流,并因此产生热量,而将其自身熔化和使铁液过程热。在有芯式感应电炉中,需要加入用其它熔炉(如冲天炉)熔化的铁液,在环形铁芯内产生的交变磁场使沟槽内的铁液过程,并利用沟槽中铁液与其上面熔池中的铁液循环作用而加热全部铁液。无芯式感应电炉具有熔化固体炉料的能力,而有芯感应电炉只能过热已熔化的铁液,但在过热铁液的电能消耗方面,则以有芯感应电炉更为节省。

图5 有芯感应电炉炉体部分构造图(容量20t)
1—感应线圈 2—轭铁 3—耐火材料 4—铁液 5—熔渣
(2)感应电炉熔炼的优缺点及其应用 与冲天炉熔炼相比,感应电炉熔炼的优点是熔炼过程中不会有增碳和增硫现象,而且熔炼过程可以造渣覆盖铁液,在一定程度上能防止铁液中硅、锰及合金元素的氧化,并减少铁液从炉气中吸收气体,从而使铁液比较纯净。这种熔炼方法的缺点是电能耗费大。
感应电炉适用于熔炼高质量灰铸铁、合金铸铁、球墨铸铁及蠕墨铸铁等。无芯感应电炉能够直接熔化固体炉料,而且开炉及停炉比较方便,适合于间断性生产条件。有芯感应电炉开炉及停炉不便,适合于连续性生产。这种炉子熔化固体炉料的热效率低,而对过热铁液的热效率高,故适于与冲天炉配合使用。目前这两种形式的感应电炉在铸铁生产上都得到应用。
3.电弧炉熔炼
(1)电弧炉构造及工作原理 电弧炉熔炼是利用石墨电极与铁料(铁液)之间产生电弧所发生的热量来熔化铁料和使铁液进行过热的。生产上普遍使用的是三相电弧炉,其炉体部分的构造示于图6。在电弧炉熔炼过程中,当铁料熔清后,进一步地提高温度及调整化学成分的冶炼操作是在熔渣覆盖铁液的条件下进行。电弧炉依照炉渣和炉衬耐火材料的性质而分为酸性和碱性两种。碱性电弧炉具有脱硫和脱磷的能力。
(2)弧炉熔炼的优缺点及其应用 电弧炉熔炼的优点是熔化固体炉料的能力强,而且铁液是在熔渣覆盖条件下进行过热和调整化学成分的,故在一定程度上能避免铁液吸气和元素的氧化。这为熔炼低碳铸铁和合金铸铁创造了良好的条件。电弧炉的缺点是耗电能多,从熔化的角度看不如冲天炉经济,故铸铁生产上常采用冲天一电弧炉双联法熔炼。由于碱性电弧炉衬耐急冷急热性差,在间歇式熔炼条件下,炉衬寿命短,导致熔炼成本高,故多采用酸性电弧炉与冲天炉相配合。

图6 三相电弧炉体剖面简图
10 铸造铝合金
10.1 铝合金的性能及应用
铸造铝合金的密度比铸铁和铸钢小,而比强度则较高。因此在承受同样载荷条件下采用铝合金铸件,可以减轻结构的重量,故在航空工业及动力机械和运输机械制造中,铝合金铸件得到广泛的应用。
铝合金有良好的表面光泽,在大气及淡水中具有良好的耐腐蚀性,故在民用器皿制造中,具有广泛的用途。纯铝在硝酸及醋酸等氧化性酸类介质中具有良好的耐蚀性,因而铝铸件在化学工业中也有一定的用途。纯铝及铝合金有良好的导热性能,放在化工生产中使用的热交换装置,以及动力机械上要求具有良好导热性能的零件,如内燃机的汽缸盖和活塞等,也适于用铝合金来制造。
铝合金具有良好的铸造性能。由于熔点较低(纯铝熔点为660.230C,铝合金的浇注温度一般约在730~750oC左右),故能广泛采用金属型及压力铸造等铸造方法,以提高铸件的内在质量,尺寸精度和表面光洁程度以及生产效率。铝合金由于凝固潜热大,在重量相同条件下,铝液的凝固过程时间延续比铸钢和铸铁长得多,放流动性良好,有利于铸造薄壁和结构复杂的铸件。
10.2 铸法铝合会的分类、牌号
铝合金按照加工方法的不同分为两大类,即压力加工铝合金和铸造铝合金(分别以YL和ZL表示)。在铸造铝合金中又依主要加入的合金元素的不同而分为四个系列,即铸造铝硅合金、造铝铜合金、铸造铝镁合金和铸造铅锌合金(分别以 ZL1X X,ZL2 X X,ZL3 X X和ZL4 X X表示),在每个系列中又按照化学成分及性能的不同而分为若干牌号。表3中列出了铸造铝合金国家标准所包括的几种铝合金的牌号。
表3铸造铝合金的牌号
|
序号 |
合金牌号 |
合金代号 |
序号 |
合金牌号 |
合金代号 |
序号 |
合金牌号 |
合金代号 |
|
1 |
ZALSi7Mg |
ZL101 |
10 |
ZALSi12 Cu1Mg1Ni1 |
ZL109 |
19 |
ZALCu5MnCdA |
ZL204A |
|
2 |
ZALSi7MgA |
ZL101A |
11 |
ZALSi9Cu2Mg |
ZL111 |
20 |
ZALCu5MnCdVA |
ZL205A |
|
3 |
ZALSi12 |
ZL102 |
12 |
ZALSi7Mg1A |
ZL114A |
21 |
ZALR5Cu3Si2 |
ZL207 |
|
4 |
ZALSi9Mg |
ZL104 |
13 |
ZALSi5Zn1Mg |
ZL115 |
22 |
ZALMg10 |
ZL301 |
|
5 |
ZALSi5Cu1Mg |
ZL105 |
14 |
ZALSi8MgBe |
ZL116 |
23 |
ZALMg5Si1 |
ZL303 |
|
6 |
ZALSi5Cu1MgA |
ZL105A |
15 |
ZALCu5Mn |
ZL201 |
24 |
ZALMg8Zn1 |
ZL305 |
|
7 |
ZALSi8Cu1Mg |
ZL106 |
16 |
ZALCu5MnA |
ZL201A |
25 |
ZALZn11Si7 |
ZL401 |
|
8 |
ZALSi7Cu4 |
ZL107 |
17 |
ZALCu10 |
ZL202 |
26 |
ZALZn6Mg |
ZL402 |
|
9 |
ZALSi12Cu2Mg |
ZL108 |
18 |
ZALCu4 |
ZL203 |
11 铸造铜合金
铸造铜合金是工业上广泛应用的一种铸造合金材料。铜基合金因具有良好的对淡水、海水及某些化学溶液的耐蚀性能而大量用于造船及化学工业。铜基合金又由于具有良好的导热性及耐磨性,故也常用于制造各种机器上承受重负荷及高速运转轴的滑动轴瓦轴套等。
铸造铜合金分为两大类,即黄铜与青铜。黄铜是以锌为主加合金元素的铜合金。在铸造黄铜中又因加入其它合金元素而形成锰黄铜、铝黄铜、硅黄铜、铅黄铜等。在铜合金中不以锌为主加元素的统称为青铜,如锡青铜、铝青铜、铅青铜、铍青铜等。在国家标准中规定铸造铜合金共有9种,计29个牌号。
12 其他有色合金
除了铸铝合金和铸铜合金以外,还有很多种铸造有色合金。其中比较常用的是铸造镁合金、铸造钛合金和铸造锌合金。镁合金和钛合金由于具有高的比强度,故多用于航空工业。其中钛合金还对多种腐蚀性介质具有很强的耐蚀性,故也用于制造石油化工设备上经受腐蚀作用的铸件。锌合金具有比较高的强度和优良的铸造性能,故广泛用于制造薄壁的和结构复杂的铸件。
在铸造方法上,铜合金及其它有色合金除了采用砂型铸造外,还广泛采用金属型铸造、离心铸造、低压铸造以及石墨型铸造等多种特种铸造方法。
在铜合金铸造中,采用金属型铸造方法,以加速合金的凝固,对提高铸件质量,减少铸造缺陷,具有重要的作用。金属型铸造可细分晶粒(特别对于铝青铜和锰黄铜),减少气孔,提高合金的机械性能和气密性(对锡青铜特别重要),在铅青铜等高含铅量铜合金中,采用金属型(以及水冷金属型)铸造,能防止铜成分的偏析。又由于铜合金铸件中,筒形零件(轴承、衬套)等较多,故采用离心铸造方法较多。此外,大型铸铜件(如大型船用螺旋桨)还可采用低压铸造方法,以提高合金的致密度,并减少铸件在浇注过程中产生的夹杂物。某些铜合金(如铅黄铜)还可采用压力铸造方法。
镁合金由于铸造性能较差,特别是容易产生热裂,故大部分镁合金铸件仍是采用砂型铸造,仅小部分形状简单的铸件,可用金属型铸造。压力铸造方法在镁合金铸造中用得很少。
锌合金具良好的铸造性能,充填铸型能力强,且不产生热裂,故特别适宜于采用金属型和压力铸造。在大量生产中常用压力铸造方法生产薄壁和结构复杂的锌合金铸件。
钛合金由于化学活泼性极强,在铸造过程中钛液与大多数铸型材料(包括各种型砂及钢铁)都发生相互作用,致使铸件被沾污,故只能用特殊的铸型材料(如氧化钍或石墨)来铸造。
13 铸造有色合金的熔炼
熔炼工艺对有色合金铸件的性能和缺陷有很大影响。多数有色合金易产生气孔和夹杂,尤其是钛合金、铝合金、镁合金和某些铜合金。一般的熔炼工艺流程是:
1)根据铸件技术要求所规定的合金牌号,可查出合金的化学成分范围,从中选定化学成分;
2)根据元素的烧损率和成分要求,进行配料计算,得出各种炉料的加入量,并选择炉料。若炉料受到污染,则需要进行处理,保证所有的炉料清洁、无锈,并在投料前进行预热;
3)检查和准备化用具,涂刷涂料,并预热,防止气体、夹杂物和有害元素的污染;
4)加料。一般加料顺序为:回炉料、中间合金和金属料,低熔点易氧化的金属料,如镁,在炉料熔化之后加入;
5)为了减少合金液的吸气和氧化的污染,应尽快熔化,防止过热,根据需要,有的合金液须加覆盖剂保护;
6)炉料熔化后,进行精炼处理,以净化合金液,并进行精炼效果的检验;
7)根据需要,进行变质处理和细分组织处理以提高性能,并检验处理效果;
8)调整温度,进行浇注。有的合金在浇注前要进行搅拌,以防发生比重偏析。
友情链接 友链交换添加QQ:2694467624 其他问题请咨询网站客服